Ищем место для посудомоечной машины
Конечно, проще всего, когда идет ремонт, нет мебели и другой бытовой техники. В данной ситуации можно еще продумать варианты правильной установки посудомоечной машины. Но прибор приобретен и есть желание поставить его в уже эксплуатируемый гарнитур. Какие есть предложения?
В принципе, вариантов немного:
- В напольную тумбы под мойку. Неплохой вариант, тем более пространства под сантехническим прибором предостаточно, обычно оно используется в качестве склада для моющих средств и ведра для мусора. Некоторые модели посудомойки могут не поместиться по высоте. Выход всегда найдется – придется переделать немного нижнюю часть шкафа. Самый большой вопрос в этом варианте – что делать с сифоном? Здесь два варианта: устанавливать плоскую посудомоечную машину (имеется в виду небольшую по глубине), чтобы за ней оставалось свободное пространство или использовать сифон специальной плоской конструкции. Это расположение посудомоечной машины на кухне имеет одно большое преимущество – близость расположения коммуникационных сетей: водопровод и канализация.
- Любой большой напольный шкафы, в котором хранится посуда больших размеров. Его надо будет переделывать.
- Очень популярны сегодня варочные поверхности. То есть, если этот бытовой прибор установить в столешницу, то место самой плиты освобождается. А значит, его можно использовать по своему усмотрения. А почему бы туда не поставить посудомойку.
- Можно отказаться от одной из напольных тумб. Конечно, уменьшится место хранения, что на сегодняшний день очень актуально, особенно когда разговор заходит о кухнях небольших габаритов. Но, как вариант, такую ситуацию можно рассматривать.
- Встречаются варианты, когда посудомойку устанавливают сверху стиралки. Не самая лучшая позиция, не самая безопасная, к тому же придется продумать способ подключения двух достаточно мощных приборов к розеткам.
- Если сам прибор является не очень габаритным, то почему не рассмотреть возможность установки его в настенные шкафы. Их просто придется усилить.
Учитывая все вышесказанное и отвечая на вопрос, куда поставить посудомоечную машину, необходимо обозначить, что современные приборы – это многообразие форм и размеров. Поэтому предварительно необходимо определиться с выбором.
Что сегодня предлагают производители.
- Невстраиваемые модели – их нельзя установить в предмет гарнитура. Они устанавливаются как отдельная единица вне мебели.
- Встраиваемые – это, наоборот, прибор, который интегрируется с кухонным гарнитуром.
- Частично встраиваемые – это оборудование можно вмонтировать в мебельный гарнитур для кухни, но не в любой предмет.
- Компактные – отдельная категория, которая предназначается для небольших кухонь и для малочисленных семей. Некоторые из таких установок можно размещать даже на столешницах, ведь их размеры не превышают габариты микроволновых печей.
Понятно, что три нижние позиции и являются теми приборами, которые можно поместить в кухонный гарнитур. То есть, задаваясь вопросом, как встроить посудомоечную машину в кухню, выбирайте именно один из трех предложенных вариантов.
Где поставить «посудомойку» и как подготовить установку?
Прежде чем приступить к подключению посудомоечной машины марки Bosch самостоятельно, необходимо четко определиться с местом ее установки
Важно помнить о том, что посудомоечная машина – это не просто предмет домашнего обихода, как мягкая или корпусная мебель, которую в любой момент можно переставить. Ее местоположение связано с местоположением электрических и водных коммуникаций, поэтому вы должны рассчитывать на то, что выбор места будет окончательным
Специалисты считают идеальным местом для посудомоечной машины – в кухне справа или слева от мойки. Почему?
- Не потребуются специальные длинные шланги (заливной и сливной), можно обойтись обычными штатными.
- Удобнее подключать к стоку, а значит, и нечистоты будут уходить беспрепятственно.
- Можно быстро переложить грязную посуду из раковины в посудомойку, ведь корзины для тарелок и чашек будут находиться на расстоянии вытянутой руки.
В этом смысле проще покупать встраиваемую технику от Bosch, не нужно задумываться, куда ее поставить, ведь в кухонном гарнитуре уже подготовлена соответствующая ниша по размеру «посудомойки». Кроме места установки, посудомоечной машины, нужно определиться еще и с тем, как вы ее будете подключать, причем сделать это нужно заранее.

Особое внимание обратите на электрические коммуникации. Многие почему-то думают, что достаточно поставить надежную евророзетку, с защищенным от влаги корпусом и можно спокойно подключать посудомоечную или стиральную машину – все безопасно
На самом деле все не так просто, ведь подобное подключение будет напоминать лотерею, где шансы, что ваша новая техника сгорит, будут весьма велики.
Профессиональные электрики настаивают на том, чтобы такие бытовые приборы как посудомоечную и стиральную машину питала отдельная заземленная сеть с дифавтоматом и стабилизатором. Это отнюдь не прихоть. Качество энергоснабжения в России и странах СНГ оставляет желать лучшего. Постоянные перепады и скачки напряжения то и дело становятся причиной поломки различных бытовых приборов
А если учесть, что вся техника марки Bosch довольно требовательна к качеству электроснабжения, нужно принять все возможные меры предосторожности
Самостоятельно заниматься прокладкой отдельной электрической сети категорически не рекомендуется. В сети много можно найти видео, где мастера рассказывают насколько легко самостоятельно проложить проводку, только они почему-то не заботятся о возможных последствиях поражения электрическим током. На видео все выглядит легко, а на практике, как правило, иначе. Не рискуйте, доверьте это дело профессионалам. Вот примерный перечень работ, которые они должны будут сделать:
- выштробить стену для прокладки электрических проводов (это можно сделать и самостоятельно);
- подобрать провод нужного сечения и материала и проложить его;
- подобрать и установить дифавтомат;
- организовать заземление;
- установить влагостойкую розетку;
- подключить стабилизатор (можно сделать самостоятельно).
С электрическими коммуникациями определились, теперь переходим к водным. Нужно сразу организовать выводы для подключения посудомоечной машины Bosch к трубе с холодной или горячей водой, а также поставить на раковину сифон с двумя отводами, один для стиральной машины (если таковая установлена на кухне), а второй для «посудомойки». В общем-то, на этом подготовку коммуникаций можно закончить. Начинаем готовиться к монтажу посудомоечной машины.
Какие инструменты и материалы понадобятся?
Перед началом монтажных работ необходимо запастись некоторыми инструментами и материалами. Ничего особенного вам не потребуется, все, что нужно найдется либо в кладовой, либо в ближайшем магазине торгующим сантехникой. Вот список.
- Плоская и крестовая отвертка.
- Фумка (лента для гидроизоляции).
- Плоскогубцы и небольшой разводной ключ.
- Сифон (если уже стоит подходящий со штуцером, то не нужно).
- Пластиковый или бронзовый тройник (резьба должна быть 3/4).
- Проточный фильтр (имеет мелкую сеточку, не пропускающую мусор в посудомоечную машину Бош).
- Краник, который устанавливается на заливной шланг (нужен на случай протечки, чтобы не перекрывать весь стояк, а перекрыть только подвод к посудомоечной машине)
- Сливной и заливной шланги (если длины шлангов входящих в комплект посудомоечной машины хватает, то не нужно).
Подключение агрегата к электропроводке
Для того чтобы обеспечить встраиваемую посудомоечную машину электропитанием, используются надежные розетки немецких стандартов, оснащенные надежным заземляющим проводом. В многоэтажных домах заземляющий провод вместо заземления подключается к глухой нейтрали. Если розетки в квартире еще не заземлены, необходимо привлечь специалиста в данной отрасли.
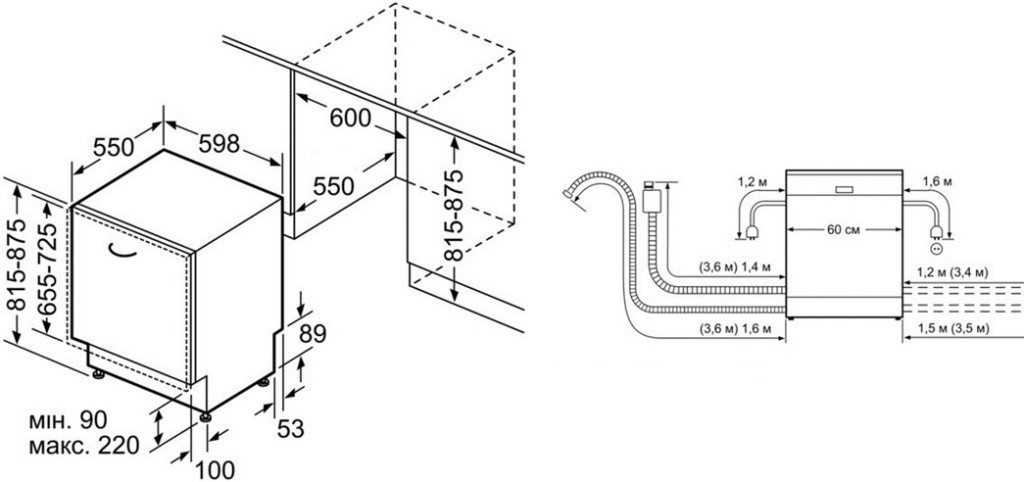
Для подключения посудомоечной машины к электросети необходима установка дополнительной розетки на расстоянии 250 – 350 мм от уровня пола. Шнур электропитания сделан коротким неспроста: в обычную розетку подключать машину нельзя. Розетка для посудомойки отводится от основного контактного соединения через 16 амперный автомат. Это необходимая мера безопасности при работе с данным электроприбором.
Возможные варианты встраивания
Шкаф для встраивания ПММ может выглядеть по-разному. Предлагаем рассмотреть несколько популярных вариантов, удобных для монтажа.
Посудомойка расположена традиционно под столешницей
Машинка вмонтирована в отдельный модуль
Компактная посудомойка интегрирована в средний ярус
Посудомойка посреди кухни – в «острове»
Каждый вид монтажа связан с трудностями
Чтобы свести их к минимуму, важно соблюдать вышеизложенные условия и требования, указанные производителем в инструкции. Предлагаем несколько рекомендаций по монтажу посудомойки в разных местах
Решение #1 – встраивание в шкаф
Если рядом с мойкой находится шкаф-тумба шириной более 45 см, то его можно использовать для установки посудомоечной машины. Преимущество близкого к коммуникациям монтажа – возможность интегрирования шлангов машинки в уже установленную систему под мойкой.
Вариант подключения посудомойки: удлиненная труба подачи холодной воды с запорным клапаном, отвод дренажного шланга в моечный сифон, отдельная электрическая розетка
Из тумбы придется убрать полки и заднюю стенку, при необходимости – нижнюю панель. Встраиваемый корпус необходимо привести в строго вертикальное положение, для этого используются регулируемые ножки.
Затем нужно поочередно подключить машину к коммуникациям: канализации, водопроводу и электропитанию. Если необходимо, следует установить дополнительно гидрозатвор со сливным патрубком.
Декоративную лицевую панель, которая крепится на дверцу машинки, обычно собирают из снятых дверок шкафа или заказывают дополнительно. Частично встроенные модели декорировать не нужно, поэтому их монтаж немного проще.
Решение #2 – установка в отдельностоящий модуль
Если свободных шкафов под новое оборудование не найдено, но места на кухне достаточно, можно заказать отдельный модуль, но установить его нужно неподалеку от коммуникационных узлов.
Тумба для дополнительно приобретенной техники – компактной стиральной машинки и посудомойки. Модуль установлен максимально близко к мойке, что облегчает подключение
Важно выровнять и закрепить агрегат так, чтобы он не вибрировал при работе и не двигал шкаф. Шланги и трубы прокладываются вдоль стены, но доступ к ним легче. Чтобы добраться до коммуникаций, можно не демонтировать машину, а просто отодвинуть тумбу от стены
Чтобы добраться до коммуникаций, можно не демонтировать машину, а просто отодвинуть тумбу от стены.
Если посудомойка установлена под общую кухонную столешницу, для технического обслуживания приходится ее демонтировать, так как иначе к местам присоединения шлангов не дотянуться.
Решение #3 – монтаж в нишу
Если в кухне предусмотрена ниша для установки микроволновой печи, духового шкафа или другого небольшого по размерам оборудования, ее можно также использовать и для монтажа посудомойки. Размеры компактной модели вместе с чертежами можно найти в инструкции по установке.
Если ниша расположена далеко от коммуникаций, придется запастись длинными гибкими шлангами для подачи холодной воды и отвода использованной
Встраиваемые компактные модели не нужно путать с отдельностоящими моделями. Последние не обязательно размещать в нише – для их установки подойдет любая горизонтальная поверхность. Чтобы посудомойка не бросалась в глаза и была скрыта, как остальная техника, лицевую часть прикрывают декоративной накладкой в стиле фасада.
Разработчики обычно продумывают различные варианты установки техники, поэтому в инструкции по монтажу размещают чертежи и схемы с размерами, полезными подсказками, техническими рекомендациями
Место для компактной модели подыскать проще, но не забывайте, что большую семью мини-машинка обслужить не в состоянии.
Решение #4 – если встраивание не подходит
Что делать, если в кухне совсем нет места для установки встраиваемой модели? Остается рассмотреть отдельно стоящие варианты, конструкция которых не требует особого монтажа.
Их можно просто установить на пол, столешницу или в нишу, выровнять, а затем выполнить подключение.
Компактная посудомойка на столе
Отдельностоящая посудомойка в открытом модуле
Посудомойка удачно расположилась под раковиной
Небольшой участок площади для узкой машинки
Существуют еще способы исполнить собственную мечту по монтажу встроенной посудомоечной машины – монтаж фасада на отдельно стоящую модель, полное переустройство кухонного гарнитура, с возможным ремонтом или переносом коммуникаций. Он более затратный, требует не только финансовых вложений, но и времени.
Условия установки посудомоечной машины в кухне
Главное условие — наличие свободного места для монтажа такой достаточно габаритной техники
Особенно важно для скромных по размерам кухонь. И если с техникой отдельностоящего типа все просто — ее можно установить практически на любом участке площадью 0,6х0,6 м, то со встроенными моделями придется немало подумать над тем, каким отсеком кухонного гарнитура лучше всего пожертвовать, чтобы организовать интеграцию
Поэтому берите в руки рулетку и производите замеры. Если у вас уже есть на примете какие-то модели посудомоечных машин, сопоставляйте полученные данные с их габаритами — и делайте вполне конкретные выводы по поводу того, подходит вам или нет то или иное решение.
Из других условий установки ПММ в готовую кухню:
- наличие всех коммуникационных узлов (канализация, водопровод, электричество) в метровой (максимум 1.5 м) доступности;
- выделение отдельной питающей линии на 220V с обязательным заземлением и влагозащищенной розеткой;
- удобство расположения (не забываем про правило рабочего треугольника);
- расстояние минимум 40 см от варочной поверхности, батареи и других источников тепла;
- нельзя ставить вплотную к стиральной машине;
- не ставьте микроволновую печь на отсек с установленной посудомойкой — электромагнитные волны негативно влияют на электронные блоки посудомойки.
Наконец, еще один момент — подключение к водопроводу. Вопреки расхожему мнению, подключать машинку к горячей воде необязательно. Более того, без защитных фильтров, регулирующих температуру, она со временем может даже выйти из строя, поэтому вполне достаточно источника холодной воды.

Как встроить посудомоечную машину
Устанавливать посудомоечный агрегат можно разными способами. Любой их них сопряжен с определенными проблемами при монтаже, но выполняя рекомендации и требования завода-изготовителя, указанные в техническом паспорте, вы сможете избежать всех проблем. Рассмотрим ниже самые распространенные и наиболее приемлемые варианты установки.
Важно решить, какого размера машинка вам необходима, и соотнести габариты техники с местом ее предполагаемого расположения
Встраивание в шкаф
Установка посудомоечной машины в готовую кухню производится в следующем порядке.
- В выбранном мебельном блоке необходимо демонтировать внутреннее наполнение и заднюю обшивку. В зависимости от модели посудомоечной машины может потребоваться и демонтаж нижней панели мебельного блока.
- После этого, регулируя ножки на корпусе устройства, его необходимо установить вертикально, для чего воспользуйтесь строительным уровнем.
- Далее подсоедините посудомойку к сливу, подведите холодную воду и подключите электропитание. При необходимости возможна установка гидрозатвора на слив.Если технику решено встраивать в кухонный гарнитур, нужно измерить шкафы и определить, какой из них наиболее оптимален для установки посудомоечной машины.
- В последнюю очередь крепиться лицевая панель. Ее можно собрать своими руками из снятых дверок мебельного блока, либо обратиться в специализированную мастерскую для изготовления на заказ.
Бывают частично встраиваемые модели посудомоечных машин. В этом случае установка передней панели не требуется, что упрощает процесс установки.
Шланги можно встроить в систему, установленную под раковиной с помощью переходной арматуры.
Установка в отдельно стоящий модуль
Если площадь кухни достаточно велика, а подходящих шкафов у вас нет, то можно рассмотреть вариант с установкой отдельно стоящего мебельного модуля. В этом случае вам необходимо обратиться в мебельную компанию для заказа соответствующего шкафчика. Лучше всего его расположить возле мойки для доступа к коммуникациям.
Подключите канализацию и воду, проложив шланги вдоль стены. Подведите электричество. После этого необходимо закрепить посудомоечную машину, чтобы во время работы она за счет вибраций не сдвигала свой новый модуль. На последнем этапе – закрепите при необходимости лицевую панель мебельного модуля.
Если в гарнитуре не нашлось подходящего шкафчика, а пространство кухни позволяет, можно заказать для машины отдельную тумбу.
Монтаж в нишу
Если в вашем кухонном гарнитуре есть предусмотренное место в виде ниши для размещения там микроволновки или печи, то в этом месте можно смонтировать и посудомоечную машину. Для таких ниш на рынке предлагаются специальные компактные модели. Однако, если такое место расположено далеко от мойки, то придется заниматься прокладкой шлангов для подведения холодной воды и отведения использованной.
Лицевая часть такой машины также может закрываться декоративным фасадом в общем стиле кухни. Хотя такая маленькая машина требует мало места, однако и ее производительность также мала, поэтому этот вариант не подойдет для большой семьи.
Компактную встраиваемую посудомоечную машину можно установить в нишу, предусмотренную для духового шкафа или микроволновой печи.
Установка встраиваемой посудомоечной машины своими руками: защита столешницы
Все посудомоечные устройства имеют одну конструктивную особенность, которая приводит к порче столешницы в процессе эксплуатации ПММ. Посудомойки выделяют пар и влагу, которые поднимаются и воздействуют на столешницу. Это происходит при открытии дверцы.
Для того чтобы обезопасить столешницу, потребуется установить защиту от пара и влаги. Для такой цели применяются различные материалы, такие как пленка, пластмасса, металлические листы. Для того чтобы защитить столешницу от воздействия влаги, можно воспользоваться скотчем.
Обезопасить столешницу можно установкой специальной защиты от пара и влаги
Машинки, которые выпускаются компанией «Бош», укомплектовываются специальными пластинами, изготовленными из металла. Узнать, какие действия необходимо выполнить для монтажа пластины, поможет инструкции по установке посудомоечной машины Bosch.
Продукция других известных брендов также может укомплектовываться пластиковыми или металлическими пластинами, однако чаще встречается пленка. Ее наклеивают на нижнюю часть столешницы. После установки защитного материала производится монтаж боковых прокладок и регулировка высоты машинки.
Как встроить посудомоечную машину: что еще нужно предусмотреть
На кухне может быть расположена специальная ниша, подготовленная для интеграции другой техники (духового шкафа, микроволновки и т. п.). Ею можно воспользоваться для установки ПММ. Но в небольшую нишу поместится только компактное устройство, что стоит учесть при его выборе. Если мебель, имеющая свободную полость, находится далеко от канализации и водопровода, то тогда понадобится подготовить гибкие шланги для подключения.
Интегрировать в кухонный гарнитур можно и комбинированные единицы техники. Например, большой популярностью пользуются плиты с посудомоечными машинами. Их довольно просто установить в современный гарнитур, однако при монтаже в старую кухонную мебель могут возникнуть проблемы.
Изделие, имеющее регулируемые ножки, рекомендуется устанавливать в опущенном до конца положении
Какие еще установочные аспекты стоит предусмотреть? На этапе встраивания необходимо провести заземление посудомоечного агрегата. Существует также правило, которое запрещает размещать ПММ в непосредственной близости от варочной панели. Если на кухне довольно много дорогостоящей техники, то тогда специалисты рекомендуют позаботиться об установке стабилизатора.
Агрегат, который имеет регулируемые ножки, рекомендуется установить таким образом, чтобы он был опущен до конца. Желательно для подключения посудомоечного устройства к электросети смонтировать отдельную розетку, так как мощность данного приспособления довольно высока.
Этапы работы
Первым делом обустраивается проводка и выводится розетка. Для этой работы лучше пригласить электрика. Влагостойкая розетка должна располагаться не выше 45 см от пола, поскольку сетевой шнур ПММ короткий. В стене подготавливается канавка, прокладывается медный провод, устанавливается дифавтомат. Подробнее об этом мы писали в статье «Как подключить посудомоечную машину».
Если столешница находится над шкафом, и вы уже демонтировали полки, тогда устанавливаем посудомойку. Есть два варианта:
- Подключить коммуникации, а затем встроить машину.
- Разместить ПММ в нише, а потом подключить шланги и электричество.
Многих пользователей интересует, что кладут между столешницей и посудомоечной машиной. Для защиты дерева от влаги к внутренней стороне столешницы нужно прикрепить металлический лист. Далее поступите так:
- подсоедините заборный шланг к выходу тройника;
- сливной шланг подключите к сифону;
- герметизируйте соединения фум-лентой;
- подключите вилку в розетку.
Задвиньте технику в нишу. Чтобы защитить машину от дополнительных вибраций, закрепите держатели на стенках шкафа. Отдельно вы можете заказать лицевую панель, чтобы окончательно скрыть посудомоечную машину в гарнитуре. У некоторых моделей есть крепления для навешивания двери либо выносная панель управления, что тоже удобно.

Выполнить самостоятельную установку в готовую мебель возможно. Но есть много тонкостей и нюансов. Проще заранее продумать место для посудомойки, перед заказом кухонного гарнитура. Тогда мастера сделают необходимые замеры, а вам останется только вписать технику в отведенное место.
Смотрите видео по теме:
Возможные варианты встраивания
Шкаф для встраивания ПММ может выглядеть по-разному. Предлагаем рассмотреть несколько популярных вариантов, удобных для монтажа.
Каждый вид монтажа связан с трудностями
Чтобы свести их к минимуму, важно соблюдать вышеизложенные условия и требования, указанные производителем в инструкции. Предлагаем несколько рекомендаций по монтажу посудомойки в разных местах
Встраивание в шкаф
Если рядом с мойкой находится шкаф-тумба шириной более 45 см, то его можно использовать для установки посудомоечной машины. Преимущество близкого к коммуникациям монтажа – возможность интегрирования шлангов машинки в уже установленную систему под мойкой.
Вариант подключения посудомойки: удлиненная труба подачи холодной воды с запорным клапаном, отвод дренажного шланга в моечный сифон, отдельная электрическая розетка
Важно. Затем нужно поочередно подключить машину к канализации, водопроводу и электропитанию
Если необходимо, следует установить дополнительно гидрозатвор со сливным патрубком.
Декоративную лицевую панель, которая крепится на дверцу машинки, обычно собирают из снятых дверок шкафа или заказывают дополнительно. Частично встроенные модели декорировать не нужно, поэтому их монтаж немного проще.
Установка в отдельностоящий модуль
Если свободных шкафов под новое оборудование не найдено, но места на кухне достаточно, можно заказать отдельный модуль, но установить его нужно неподалеку от коммуникаций.
Тумба для дополнительно приобретенной техники – компактной стиральной машинки и посудомойки. Модуль установлен максимально близко к мойке, что облегчает подключение
Важно выровнять и закрепить агрегат так, чтобы он не вибрировал при работе и не двигал шкаф. Шланги и трубы прокладываются вдоль стены, но доступ к ним легче
Чтобы добраться до коммуникаций, можно не демонтировать машину, а просто отодвинуть тумбу от стены. Когда посудомойка установлена под общую кухонную столешницу, для технического обслуживания приходится ее демонтировать, так как иначе к местам присоединения шлангов не дотянуться.
Монтаж в нишу
Если в кухне предусмотрена ниша для установки микроволновой печи, духового шкафа или другого небольшого по размерам оборудования, ее можно также использовать и для монтажа посудомойки.
Размеры компактной модели вместе с чертежами можно найти в инструкции по установке. Если ниша расположена далеко от коммуникаций, придется запастись длинными гибкими шлангами для подачи холодной воды и отвода использованной
Встраиваемые компактные модели не нужно путать с отдельностоящими. Последние не обязательно размещать в нише – для их установки подойдет любая горизонтальная поверхность.
Чтобы посудомойка не бросалась в глаза и была скрыта, как остальная техника, лицевую часть прикрывают декоративной накладкой в стиле фасада.
Разработчики обычно продумывают различные варианты установки техники, поэтому в инструкции по монтажу размещают чертежи и схемы с размерами, полезными подсказками, техническими рекомендациями
Место для компактной модели подыскать проще, но не забывайте, что большую семью мини-машинка обслужить не в состоянии.
Если встраивание не подходит
Что делать, если в кухне совсем нет места для установки встраиваемой модели? Остается рассмотреть отдельностоящие варианты, конструкция которых не требует особого монтажа. Их можно просто установить на пол, столешницу или в нишу, выровнять, а затем выполнить подключение.
Существует еще один способ исполнить собственную мечту по монтажу встроенной посудомоечной машины – полное переустройство кухонного гарнитура, с возможным ремонтом или переносом коммуникаций. Он более затратный, требует не только финансовых вложений, но и времени.

















